Aloyco Gate Valves
Filter
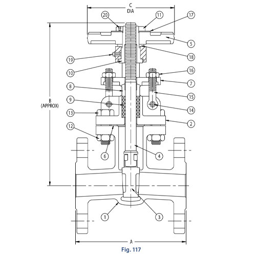
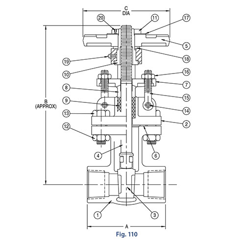
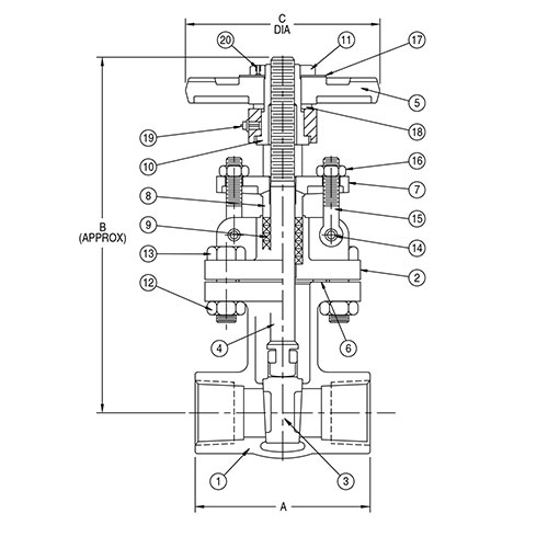
Gate Valves are highly efficient and reliable stop valves with durable and reliable on/off control and flow moving in either direction. They use a gate or disc mechanism to control the flow of fluids like water, steam, gas and oil through a pipe or tube. With simple design and operation, gate valves provide an efficient straight-through flow with little resistance and minimal pressure loss.
To open the valve, the handwheel must be rotated counterclockwise as this raises the stem that connects to a gate or disc. As the gate/disk rises above the port openings, flow is allowed to move freely from inlet to outlet. To close the valve, the handwheel must be turned clockwise until the gate or disc sits on the valve seat, shutting off the flow completely. More than one full 360° turn is needed to completely close or open the valve. Some gate valves also come with a non-rising stem as these are specially equipped for limited space applications since they stems do not extend above the valve body during operation.
The simplistic design and bidirectional sealing function of gate valves allows them to be installed in almost all directions for fully closed or fully open services. Gate valves also are appropriate for use in high temperature and pressure applications, making them suitable for many residential, commercial, and industrial applications. Gate valves are best paired with applications that require infrequent use of their valves, like general water supply, water treatment, HVAC systems, oil and gas industries, chemical industries, marine industries, food and beverage industries, mining industries, agriculture, and fuel systems.
Cooney Brothers is proud to bring our customers a large, versatile selection of gate valves from an array of the top brands you know and love. We carry a wide range of Aloyco Gate Valves, Apollo Gate Valves, Crane Gate Valves, Matco-Norca Gate Valves, and Spears Gate Valves.
We also stock a wide collection of gate valve product lines from Crane, such as Crane LB3604XUT Gate Valves, Crane L47XUF Gate Valves, Crane 634E Gate Valves, Crane 431UB Gate Valves and more!
We offer both domestically made and imported gate valves that are anywhere from ¼” to 24” in size and 125 to 800 in pressure class. Our stock of gate valves come in a large range body materials with various available configurations, including A105 Forged Steel Gate Valves, Cast Steel Gate Valves, Stainless Steel Gate Valves, Alloy 20 Gate Valves, Bronze Gate Valves, Lead-Free Bronze Gate Valves, CPVC Gate Valves, PVC Gate Valves, Iron Gate Valves, and Ductile Iron Gate Valves. Our assortment of end styles ranges from Buttweld to Flanged to Socket to Socket Weld to FNPT to Special Reinforced FNPT ends. These valves incorporate flexible or solid wedge discs within their design as well as threaded bonnets for low pressure operations and union or bolted bonnets for high pressure operations.
Contact us for technical advice on how to select the best gate valve for your specific application and feel free to browse our selection below.
CBPN:
256088
MPN:
117FC02040
CBPN:
117364
MPN:
117FC02014
CBPN:
127265
MPN:
117FC02020
CBPN:
127264
MPN:
117FC02030
CBPN:
160272
MPN:
110FC02014
CBPN:
71073
MPN:
110FC02020
CBPN:
71069
MPN:
110SC02004
CBPN:
71070
MPN:
110SC02006
CBPN:
71071
MPN:
110SC02010
CBPN:
248501
MPN:
114FC02014
CBPN:
104799
MPN:
114FC02020
CBPN:
122740
MPN:
114SC02004
CBPN:
248503
MPN:
114SC02006
CBPN:
248502
MPN:
114SC02010
CBPN:
220285
MPN:
117FC02024




